Retrofit, M aerodynamic kit, rear dla BMW X3 E83 LCI X3 2.0d M47N2 SAV ECE
| Nr | Nazwa i numer części | Dodatkowe inf. |
Liczba na schemacie |
Okres |
Cena za sztukę |
Termin realizacji |
Zamów |
|---|---|---|---|---|---|---|---|
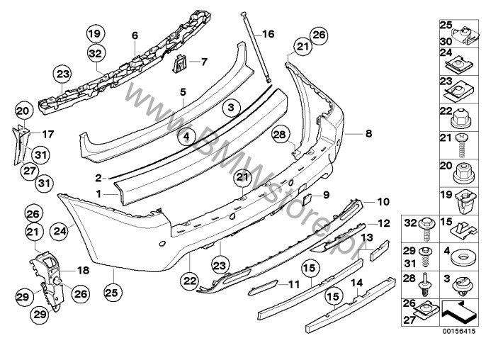
| 01 |
Osłona pokrywy bagażnika, gruntowana
51 43 3 418 757 |
M | 1 |
1 153,46 zł
|
do 10 dni |
Zapytaj o dost.
Bez gwarancji potwierdzenia zamówienia Do Koszyka |
|
| 01 |
Przy zamawianiu podać kod koloru
Osłona pokrywy bagażnika, lakierowana 51 11 0 403 511 |
CODE - UNI/MET. | 1 | koniec produkcji | |||
| 02 |
Uszczelka osłony pokrywy bagażnika
51 13 3 415 080 |
M | 1 |
71,37 zł
|
do 10 dni |
Zapytaj o dost.
Bez gwarancji potwierdzenia zamówienia Do Koszyka |
|
| 03 |
Zaczep
07 14 3 414 651 |
3 |
6,60 zł
|
do 10 dni | Do Koszyka | ||
| 03 |
Zaczep z pierścieniem uszcz.
51 13 7 065 607 |
9 |
2,66 zł
|
do 10 dni | Do Koszyka | ||
| 04 |
Uszczelka z gumy porowatej
51 13 3 415 081 |
M | 12 |
21,54 zł
|
do 10 dni |
Zapytaj o dost.
Bez gwarancji potwierdzenia zamówienia Do Koszyka |
|
| 05 |
Osłona krawędzi ładunkowej
51 12 3 414 406 |
M | 1 |
429,82 zł
|
do 10 dni | Do Koszyka | |
| 06 |
Mocowanie zderzaka, tylne środkowe
51 12 3 414 404 |
M | 1 |
388,76 zł
|
do 10 dni | Do Koszyka | |
| 07 |
Wspornik zderzaka tylnego
51 12 3 418 499 |
2 |
82,00 zł
|
do 10 dni |
Zapytaj o dost.
Bez gwarancji potwierdzenia zamówienia Do Koszyka |
||
| 08 |
Obudowa zderzaka tylnego gruntowana
51 12 3 416 946 |
M | 1 |
4 071,32 zł
|
do 10 dni |
Zapytaj o dost.
Bez gwarancji potwierdzenia zamówienia Do Koszyka |
|
| 08 |
Przy zamawianiu podać kod koloru
Obudowa zderzaka tylnego lakierowana 51 11 0 403 469 |
CODE - UNI/MET. | 1 | koniec produkcji | |||
| 08 |
Dla samochodów z Park Distance Control (PDC) (S508A) = TAK Obudowa zderzaka tylnego gruntowana 51 12 3 416 947 tylko w połączeniu z |
M | 1 |
4 373,24 zł
|
do 10 dni | Do Koszyka | |
| -- |
Czujnik ultradźwiękowy - kod koloru
66 20 2 180 148 |
4 |
794,86 zł
|
do 10 dni |
Zapytaj o dost.
Bez gwarancji potwierdzenia zamówienia Do Koszyka |
||
| -- |
Styk tulejowy MQS ELA z kablem
61 13 0 006 665 |
0,75 QMM | 12 |
16,61 zł
|
do 10 dni |
Zapytaj o dost.
Bez gwarancji potwierdzenia zamówienia Do Koszyka |
|
| -- |
Zest. napr. obudowy gniazda
61 13 2 359 998 |
3 POL. | 4 |
66,12 zł
|
do 10 dni | Do Koszyka | |
| 08 |
Dla samochodów z Park Distance Control (PDC) (S508A) = TAK Przy zamawianiu podać kod koloru Obudowa zderzaka tylnego lakierowana 51 11 0 403 470 tylko w połączeniu z |
CODE - UNI/MET. | 1 | koniec produkcji | |||
| -- |
Czujnik ultradźwiękowy - kod koloru
66 20 2 180 148 |
4 |
794,86 zł
|
do 10 dni |
Zapytaj o dost.
Bez gwarancji potwierdzenia zamówienia Do Koszyka |
||
| -- |
Styk tulejowy MQS ELA z kablem
61 13 0 006 665 |
0,75 QMM | 12 |
16,61 zł
|
do 10 dni |
Zapytaj o dost.
Bez gwarancji potwierdzenia zamówienia Do Koszyka |
|
| -- |
Zest. napr. obudowy gniazda
61 13 2 359 998 |
3 POL. | 4 |
66,12 zł
|
do 10 dni | Do Koszyka | |
| 09 |
Zaślepka ucha holowniczego, gruntowana
51 12 3 416 948 |
M | 1 |
146,43 zł
|
do 10 dni | Do Koszyka | |
| 09 |
Przy zamawianiu podać kod koloru
Zaślepka ucha holowniczego, lakierowana 51 11 0 403 476 |
CODE - UNI/MET. | 1 | koniec produkcji | |||
| 10 |
Dyfuzor
51 12 3 417 730 |
M | 1 |
830,37 zł
|
do 10 dni |
Zapytaj o dost.
Bez gwarancji potwierdzenia zamówienia Do Koszyka |
|
| 10 |
Dla samochodów z Hak holowniczy ze zdejmowaną głowicą (S235A) = TAK Dyfuzor 51 12 3 433 424 |
M | 1 |
462,76 zł
|
do 10 dni | Do Koszyka | |
| 11 |
Szkło odblaskowe lewe
63 14 3 417 741 |
M | 1 |
108,02 zł
|
do 10 dni |
Zapytaj o dost.
Bez gwarancji potwierdzenia zamówienia Do Koszyka |
|
| 11 |
Szkło odblaskowe prawe
63 14 3 417 742 |
M | 1 |
112,76 zł
|
do 10 dni | Do Koszyka | |
| 12 |
Dla samochodów z Hak holowniczy ze zdejmowaną głowicą (S235A) = TAK Klapka zaczepu holowniczego 51 12 3 414 413 |
M | 1 |
133,02 zł
|
do 10 dni | Do Koszyka | |
| 13 |
Dla samochodów z Hak holowniczy ze zdejmowaną głowicą (S235A) = TAK Absorber uderzenia 51 12 3 414 411 |
M | 1 |
337,88 zł
|
do 10 dni |
Zapytaj o dost.
Bez gwarancji potwierdzenia zamówienia Do Koszyka |
|
| 14 |
Absorber uderzenia
51 12 3 414 410 |
M | 1 |
103,08 zł
|
do 10 dni |
Zapytaj o dost.
Bez gwarancji potwierdzenia zamówienia Do Koszyka |
|
| 15 |
Klamra
61 13 1 356 086 |
10 |
6,04 zł
|
do 10 dni |
Zapytaj o dost.
Bez gwarancji potwierdzenia zamówienia Do Koszyka |
||
| 16 |
Siłownik pneumatyczny pokrywy bagażnika
51 24 3 414 711 |
M | 2 |
303,88 zł
|
do 10 dni |
Zapytaj o dost.
Bez gwarancji potwierdzenia zamówienia Do Koszyka |
|
| 17 |
Uchwyt zderzaka
51 12 3 414 412 |
M | 1 |
57,14 zł
|
do 10 dni | Do Koszyka | |
| 18 |
Wspornik lewy
51 12 3 448 677 |
1 |
88,62 zł
|
do 10 dni | Do Koszyka | ||
| 18 |
Wspornik prawy
51 12 3 448 678 |
1 |
88,62 zł
|
do 10 dni | Do Koszyka | ||
| 19 |
Nakrętka
51 12 7 046 911 |
7 |
6,36 zł
|
do 10 dni | Do Koszyka | ||
| 20 |
Kunststoffhutmutter mit Scheibe
51 16 1 943 122 |
D=18MM | 1 |
6,08 zł
|
do 10 dni | Do Koszyka | |
| 21 |
Blachowkręt
07 11 9 904 714 |
ST4,8X19 | 10 |
3,92 zł
|
do 10 dni | Do Koszyka | |
| 22 |
Nakrętka
51 71 1 934 930 |
M5 | 2 |
1,63 zł
|
do 10 dni | Do Koszyka | |
| 23 |
Nakrętka C-Clip samozabezp.
07 14 7 154 447 |
ST 4.8 -ZNS3 | 4 |
2,66 zł
|
do 10 dni | Do Koszyka | |
| 24 |
Nakrętka
07 12 9 904 243 |
ST4,8-16-ZNS3 | 4 |
2,52 zł
|
do 10 dni | Do Koszyka | |
| 25 |
Nakrętka samozabezp.
51 12 3 413 810 |
ST 4,8 | 2 |
7,70 zł
|
do 10 dni |
Zapytaj o dost.
Bez gwarancji potwierdzenia zamówienia Do Koszyka |
|
| 26 |
Nakrętka samozabezp.
07 14 3 428 236 |
3,4 | 4 |
2,37 zł
|
do 10 dni | Do Koszyka | |
| 27 |
Nakrętka
07 12 9 904 227 |
ST 4,8-8-ZNS | 2 |
2,37 zł
|
do 10 dni | Do Koszyka | |
| 28 |
Nit rozporowy czarny
51 11 1 944 537 |
L=15MM | 2 |
4,94 zł
|
do 10 dni | Do Koszyka | |
| 29 |
Blachowkręt
07 11 9 904 288 |
ST4,8X19-U2 SW | 4 |
3,40 zł
|
do 10 dni | Do Koszyka | |
| 30 |
Nakrętka samozabezp.
51 11 3 413 809 |
ST4,8 | 4 |
8,58 zł
|
do 10 dni | Do Koszyka | |
| 31 |
Śruba z łbem sześciokątnym z podkł.
07 14 7 129 160 |
ST4,8X16MM | 2 |
2,58 zł
|
do 10 dni | Do Koszyka | |
| 32 |
Śruba
07 14 3 428 231 |
SECHSKANT | 7 |
2,52 zł
|
do 10 dni | Do Koszyka | |

