Sterownik DDE zaprogramowany dla BMW 5' E34 524td Limousine ECE
| Nr | Nazwa i numer części | Dodatkowe inf. |
Liczba na schemacie |
Okres |
Cena za sztukę |
Termin realizacji |
Zamów |
|---|---|---|---|---|---|---|---|
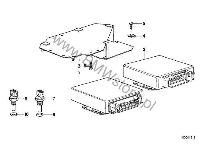
| 01 | 13 61 2 244 126 | 1.0 / 5T7 | 1 | koniec produkcji | |||
| 02 |
Dla samochodów z Katalizator Diesel (S169A) = NIE Sterownik DDE, pocz. wtrysku prog. 13 61 2 243 623 |
1.0 / 5T6 | 1 |
9 534,79 zł
|
do 10 dni |
Zapytaj o dost.
Bez gwarancji potwierdzenia zamówienia Do Koszyka |
|
| 02 |
Dla samochodów z Katalizator Diesel (S169A) = TAK Sterownik DDE, pocz. wtrysku prog. 13 61 2 243 916 pasuje tylko do 5T6/5T7 |
1.0 / 5C6 | 1 | koniec produkcji | |||
| 07 |
Czujnik temperatury płynu chłodzącego
13 62 2 242 184 |
M12X1,5 | 1 |
208,77 zł
|
do 10 dni |
Zapytaj o dost.
Bez gwarancji potwierdzenia zamówienia Do Koszyka |
|
| 08 |
Pierścień uszczelniający
07 11 9 963 129 |
A12X15-CU | 1 |
1,84 zł
|
do 10 dni | Do Koszyka | |
| 09 |
Czujnik temperatury powietrza dolotowego
13 62 1 711 371 |
2500-OHM | 1 |
235,53 zł
|
do 10 dni |
Zapytaj o dost.
Bez gwarancji potwierdzenia zamówienia Do Koszyka |
|
| 10 |
Pierścień uszczelniający
07 11 9 963 129 |
A12X15-CU | 1 |
1,84 zł
|
do 10 dni | Do Koszyka | |
Sterownik DDE zaprogramowany, volume
