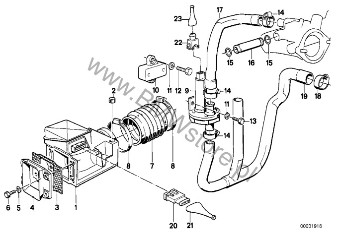
Przepływomierz powietrza dla BMW 5' E28 M5 Limousine ECE
| Nr | Nazwa i numer części | Dodatkowe inf. | 
               Liczba na schemacie  | 
            Okres | 
              Cena za sztukę  | 
            
              Termin  realizacji  | 
            Zamów | 
|---|---|---|---|---|---|---|---|
| 01 | 
              
                                          
                            Przepływomierz powietrza
               13 62 1 307 019  | 
            1 | 
                            
              
              
                                                 
      4 847,35 zł   
                           
      
 | 
                                    do 10 dni | 
                              Zapytaj o dost.
                 Bez gwarancji potwierdzenia zamówienia Do Koszyka | 
                                  ||
| 02 | 
              
                                          
                            Zaślepka
               13 62 1 363 874  | 
            1 | koniec produkcji | ||||
| 03 | 
              
                                          
                            Uszczelka
               13 71 9 067 449  | 
            1 | 
                            
              
              
                                                 
      43,08 zł   
                           
      
 | 
                                    do 10 dni | 
                              Zapytaj o dost.
                 Bez gwarancji potwierdzenia zamówienia Do Koszyka | 
                                  ||
| 04 | 
              
                                          
                            Kołnierz przyłączeniowy
               13 71 1 306 719  | 
            1 | koniec produkcji | ||||
| 05 | 
              
                                          
                            Podkładka sprężysta
               07 11 9 932 099  | 
            B6 | 4 | koniec produkcji | |||
| 05 | 
              
                                          
                            Podkładka sprężysta
               07 11 9 904 496  | 
            B6-ZNS3 | 4 | koniec produkcji | |||
| 06 | 
              
                                          
                            Śruba z łbem walcowym
               07 11 9 919 967  | 
            M6X20 | 4 | do 1988-06 | koniec produkcji | ||
| 06 | 
              
                                          
                            Śruba ISA
               07 12 9 901 130  | 
            M6X20-8.8-ZNNIV | 4 | 
                            
              
              
                                                 
      4,01 zł   
                           
      
 | 
                                    do 10 dni | Do Koszyka | |
| 07 | 
              
                                          
                            Osłona gumowa
               11 61 1 306 724  | 
            1 | 
                            
              
              
                                                 
      171,82 zł   
                           
      
 | 
                                    do 10 dni | Do Koszyka | ||
| 08 | 
              
                                          
                            Opaska na węże
               07 12 9 952 131  | 
            L77-84 | 2 | 
                            
              
              
                                                 
      12,58 zł   
                           
      
 | 
                                    do 10 dni | Do Koszyka | |
| 09 | 
              
                                          
                            Dodatkowa przepustnica powietrza
               13 63 1 272 166  | 
            1 | 
                            
              
              
                                                 
      733,62 zł   
                           
      
 | 
                                    do 10 dni | 
                              Zapytaj o dost.
                 Bez gwarancji potwierdzenia zamówienia Do Koszyka | 
                                  ||
| 10 | 
              
                                          
                            Kołnierz
               11 12 1 306 984  | 
            1 | 
                            
              
              
                                                 
      180,80 zł   
                           
      
 | 
                                    do 10 dni | 
                              Zapytaj o dost.
                 Bez gwarancji potwierdzenia zamówienia Do Koszyka | 
                                  ||
| 11 | 
              
                                          
                            Podkładka sprężysta
               07 11 9 932 099  | 
            B6 | 4 | koniec produkcji | |||
| 11 | 
              
                                          
                            Podkładka sprężysta
               07 11 9 904 496  | 
            B6-ZNS3 | 4 | koniec produkcji | |||
| 12 | 
              
                                          
                            Śruba sześciokątna
               07 11 9 913 475  | 
            M6X22 | 2 | koniec produkcji | |||
| 12 | 
              
                                          
                            Śruba sześciokątna
               07 11 9 904 505  | 
            M6X22-8.8-ZNS3 | 2 | 
                            
              
              
                                                 
      3,61 zł   
                           
      
 | 
                                    do 10 dni | Do Koszyka | |
| 13 | 
              
                                          
                            Śruba sześciokątna
               07 11 9 913 466  | 
            M6X16-8.8 ZN | 2 | koniec produkcji | |||
| 13 | 
              
                                          
                            Śruba sześciokątna
               07 11 9 904 357  | 
            M6X16-8.8-ZNS3 | 2 | koniec produkcji | |||
| 14 | 
              
                                          
                            Opaska na węże
               07 12 9 952 109  | 
            L18-24 | 4 | 
                            
              
              
                                                 
      8,21 zł   
                           
      
 | 
                                    do 10 dni | Do Koszyka | |
| 15 | 
              
                                          
                            O-Ring
               13 54 1 307 380  | 
            2 | 
                            
              
              
                                                 
      14,86 zł   
                           
      
 | 
                                    do 10 dni | 
                              Zapytaj o dost.
                 Bez gwarancji potwierdzenia zamówienia Do Koszyka | 
                                  ||
| 16 | 
              
                                          
                            Rurka połączeniowa
               13 54 1 307 349  | 
            1 | koniec produkcji | ||||
| 17 | 
              
                                          
                            Przewód elastyczny
               11 61 1 306 971  | 
            1 | 
                            
              
              
                                                 
      81,24 zł   
                           
      
 | 
                                    do 10 dni | 
                              Zapytaj o dost.
                 Bez gwarancji potwierdzenia zamówienia Do Koszyka | 
                                  ||
| 18 | 
              
                                          
                            Opaska na węże
               07 12 9 952 113  | 
            L28-33 | 1 | 
                            
              
              
                                                 
      9,10 zł   
                           
      
 | 
                                    do 10 dni | Do Koszyka | |
| 19 | 
              
                                          
                            Przewód elastyczny
               11 61 1 306 972  | 
            1 | 
                            
              
              
                                                 
      333,25 zł   
                           
      
 | 
                                    do 10 dni | 
                              Zapytaj o dost.
                 Bez gwarancji potwierdzenia zamówienia Do Koszyka | 
                                  ||
| 20 | 
              
                                          
                            Obudowa wtyczki
               12 52 1 706 069  | 
            5 POL. | 1 | do 1986-06 | koniec produkcji | ||
| 20 | 
              
                                          
                            Obudowa wtyczki
               12 52 1 706 097  | 
            1 | koniec produkcji | ||||
| 21 | 
              
                                          
                            Osłonka
               61 13 1 270 973  | 
            L=27,0MM | 1 | 
                            
              
              
                                                 
      32,05 zł   
                           
      
 | 
                                    do 10 dni | 
                              Zapytaj o dost.
                 Bez gwarancji potwierdzenia zamówienia Do Koszyka | 
                                  |
| 22 | 
              
                                          
                            Obudowa wtyczki
               12 52 1 706 121  | 
            2-POL | 1 | do 1986-06 | koniec produkcji | ||
| 22 | 
              
                                          
                            Obudowa wtyczki
               12 52 1 706 091  | 
            2 POL. | 1 | 
                            
              
              
                                                 
      20,00 zł   
                           
      
 | 
                                    do 10 dni | Do Koszyka | |
| 23 | 
              
                                          
                            Osłonka
               61 13 1 358 330  | 
            L=12,5MM | 1 | 
                            
              
              
                                                 
      28,25 zł   
                           
      
 | 
                                    do 10 dni | Do Koszyka | |
  
      
