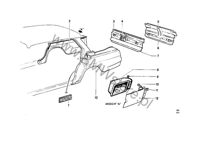
Ściana boczna tylna dla BMW 1500-2000CS 2000 Limousine ECE
| Nr | Nazwa i numer części | Dodatkowe inf. |
Liczba na schemacie |
Okres |
Cena za sztukę |
Termin realizacji |
Zamów |
|---|---|---|---|---|---|---|---|
| 02 |
Panel boczny, tylny, prawy
41 35 1 885 126 |
1 | koniec produkcji | ||||
| 02 |
Panel boczny, tylny, prawy
41 35 5 790 018 |
1 |
od 1966-01 do 1972-01 |
4 584,96 zł
|
do 10 dni |
Zapytaj o dost.
Bez gwarancji potwierdzenia zamówienia Do Koszyka |
|
| 06 |
Pas tylny
41 34 5 734 101 |
1 |
od 1966-01 do 1972-01 |
koniec produkcji | |||
| 08 |
Pokrywa
51 71 5 690 080 |
1 | koniec produkcji | ||||
| 11 |
Nakrętka
07 12 9 925 711 |
ST4,8-6 | 3 | do 1972-01 | koniec produkcji | ||
| 11 |
Nakrętka
07 12 9 904 225 |
ST 4,8-6-ZNS3 | 3 |
4,44 zł
|
do 10 dni | Do Koszyka | |
| 12 |
Klapka wlewu paliwa
51 17 5 690 085 |
1 | koniec produkcji | ||||
| 13 |
Panel boczny, tylny, lewy
41 35 5 790 017 |
1 |
od 1966-01 do 1972-01 |
niedostępna | |||

