Pokrywa bagażnika dla BMW M1 E26 M1 Coupé ECE
| Nr | Nazwa i numer części | Dodatkowe inf. |
Liczba na schemacie |
Okres |
Cena za sztukę |
Termin realizacji |
Zamów |
|---|---|---|---|---|---|---|---|
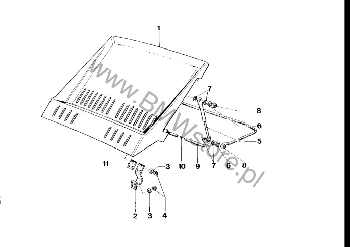
| 01 |
Pokrywa bagażnika
41 62 2 165 259 |
1 | niedostępna | ||||
| 01 |
Izolacja termiczna
51 71 9 055 907 |
220X90MM | 1 | koniec produkcji | |||
| 02 |
Zawias
41 62 2 165 285 |
2 | koniec produkcji | ||||
| 02 |
Zawias
41 62 2 165 340 |
2 | koniec produkcji | ||||
| 02 |
Zawias
41 62 2 165 341 |
2 | koniec produkcji | ||||
| 03 |
Podkładka
07 11 9 936 425 |
6,4 | 10 | do 1981-07 | koniec produkcji | ||
| 03 |
Podkładka
07 11 9 903 791 |
A6,4-200HV-ZNS3 | 10 |
1,53 zł
|
do 10 dni | Do Koszyka | |
| 04 |
Nakrętka samozabezpieczająca
07 12 9 922 417 |
M6-ZN - SERVICE | 10 | do 1981-07 | koniec produkcji | ||
| 04 |
Nakrętka sześciokątna
07 12 9 904 882 |
M6-8-ZNS3 | 10 |
2,94 zł
|
do 10 dni | Do Koszyka | |
| 05 |
Siłownik pneumatyczny
51 24 2 162 616 |
2 | niedostępna | ||||
| 06 |
Podkładka
07 11 9 936 416 |
5,3 | 4 | koniec produkcji | |||
| 06 |
Podkładka
07 11 9 936 439 |
5,3-140 HV-ZNS | 4 |
5,74 zł
|
do 10 dni | Do Koszyka | |
| 07 |
Podkładka sprężysta
07 11 9 932 047 |
B5 | 8 | do 1981-07 | koniec produkcji | ||
| 07 |
Podkładka sprężysta
07 11 9 932 098 |
B5 | 8 |
6,21 zł
|
do 10 dni | Do Koszyka | |
| 09 |
Uszczelka
51 72 2 161 477 |
1 | niedostępna | ||||
| 10 |
Łącznik
51 71 2 165 983 |
1 | koniec produkcji | ||||
| 11 |
Płyta
41 62 2 165 252 |
2 | niedostępna | ||||

