Drzwi Security, przednie dla BMW X5 E70 X5 4.8i SAV ECE
| Nr | Nazwa i numer części | Dodatkowe inf. |
Liczba na schemacie |
Okres |
Cena za sztukę |
Termin realizacji |
Zamów |
|---|---|---|---|---|---|---|---|
| 01 |
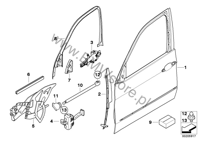
Dla samochodów z Samochód opancerzony Security Plus (S109A) = TAK Drzwi przednie lewe 41 51 7 215 285 |
1 | niedostępna | ||||
| 01 |
Dla samochodów z Samochód opancerzony Security Plus (S109A) = TAK Drzwi przednie prawe 41 51 7 215 286 |
1 | niedostępna | ||||
| 01 |
Dla samochodów z Samochód opancerzony (S106A) = TAK Drzwi przednie lewe 41 51 7 214 347 |
1 | niedostępna | ||||
| 01 |
Dla samochodów z Samochód opancerzony (S106A) = TAK Drzwi przednie prawe 41 51 7 214 348 |
1 | niedostępna | ||||
| 02 |
Dla samochodów z Samochód opancerzony Security Plus (S109A) = TAK Prowadnica szyby przedniej lewej 51 33 7 215 289 |
1 | niedostępna | ||||
| 02 |
Dla samochodów z Samochód opancerzony Security Plus (S109A) = TAK Prowadnica szyby przedniej prawej 51 33 7 215 290 |
1 | niedostępna | ||||
| 02 |
Dla samochodów z Samochód opancerzony (S106A) = TAK Prowadnica szyby przedniej lewej 51 33 7 214 349 |
1 | niedostępna | ||||
| 02 |
Dla samochodów z Samochód opancerzony (S106A) = TAK Prowadnica szyby przedniej prawej 51 33 7 214 350 |
1 | niedostępna | ||||
| 03 |
Dla samochodów z Samochód opancerzony Security Plus (S109A) = TAK Wspornik zew. klamki drzwi lewy 51 22 7 215 489 |
1 | niedostępna | ||||
| 03 |
Dla samochodów z Samochód opancerzony Security Plus (S109A) = TAK Wspornik zew. klamki drzwi prawy 51 22 7 215 490 |
1 | niedostępna | ||||
| 03 |
Dla samochodów z Samochód opancerzony (S106A) = TAK 51 22 7 214 275 |
1 | niedostępna | ||||
| 03 |
Dla samochodów z Samochód opancerzony (S106A) = TAK 51 22 7 214 276 |
1 | niedostępna | ||||
| 03 |
Dla samochodów z Samochód opancerzony (S106A) = TAK 51 22 7 214 573 |
1 | koniec produkcji | ||||
| 03 |
Dla samochodów z Samochód opancerzony (S106A) = TAK 51 22 7 214 574 |
1 | koniec produkcji | ||||
| 04 |
Dla samochodów z Samochód opancerzony (S106A) = TAK Ogranicznik drzwi przednich 51 21 7 141 024 |
2 |
299,77 zł
|
do 10 dni |
Zapytaj o dost.
Bez gwarancji potwierdzenia zamówienia Do Koszyka |
||
| 05 |
Dla samochodów z Samochód opancerzony Security Plus (S109A) = TAK Siłownik szyby przedni lewy 51 33 7 215 151 |
1 | niedostępna | ||||
| 05 |
Dla samochodów z Samochód opancerzony Security Plus (S109A) = TAK Siłownik szyby przedni prawy 51 33 7 215 152 |
1 | niedostępna | ||||
| 05 |
Dla samochodów z Samochód opancerzony (S106A) = TAK Siłownik szyby przedni lewy 51 33 7 214 067 |
1 | niedostępna | ||||
| 05 |
Dla samochodów z Samochód opancerzony (S106A) = TAK Siłownik szyby przedni prawy 51 33 7 214 068 |
1 | niedostępna | ||||
| 06 |
Dla samochodów z Samochód opancerzony Security Plus (S109A) = TAK Profil siłownika szyby przedni lewy 51 33 7 215 273 |
1 | niedostępna | ||||
| 06 |
Dla samochodów z Samochód opancerzony Security Plus (S109A) = TAK Profil siłownika szyby przedni prawy 51 33 7 215 274 |
1 | niedostępna | ||||
| 06 |
Dla samochodów z Samochód opancerzony (S106A) = TAK Profil siłownika szyby przedni lewy 51 33 7 214 285 |
1 | koniec produkcji | ||||
| 06 |
Dla samochodów z Samochód opancerzony (S106A) = TAK Profil siłownika szyby przedni prawy 51 33 7 214 286 |
1 | koniec produkcji | ||||
| 07 |
Dla samochodów z Samochód opancerzony (S106A) = TAK lub Samochód opancerzony Security Plus (S109A) = TAK Osłona trójkąta lusterka z lewej strony 51 33 7 214 063 |
1 | niedostępna | ||||
| 07 |
Dla samochodów z Samochód opancerzony (S106A) = TAK lub Samochód opancerzony Security Plus (S109A) = TAK Osłona trójkąta lusterka z prawej strony 51 33 7 214 064 |
1 | niedostępna | ||||
| 08 |
Dla samochodów z Samochód opancerzony Security Plus (S109A) = TAK Osłona ramy szyby z przodu z lewej str. 51 33 7 215 407 |
1 | niedostępna | ||||
| 08 |
Dla samochodów z Samochód opancerzony Security Plus (S109A) = TAK Osłona ramy szyby z przodu z prawej str. 51 33 7 215 408 |
1 | niedostępna | ||||
| 08 |
Dla samochodów z Samochód opancerzony (S106A) = TAK Osłona ramy szyby z przodu z lewej str. 51 33 7 214 283 |
1 | niedostępna | ||||
| 08 |
Dla samochodów z Samochód opancerzony (S106A) = TAK Osłona ramy szyby z przodu z prawej str. 51 33 7 214 284 |
1 | niedostępna | ||||
| 09 |
Dla samochodów z Samochód opancerzony Security Plus (S109A) = TAK Kpl. mocowania drzwi przednich 72 17 7 215 561 |
1 | niedostępna | ||||
| 09 |
Dla samochodów z Samochód opancerzony (S106A) = TAK Kpl. mocowania drzwi przednich 51 33 7 214 511 |
1 | niedostępna | ||||
| 10 |
Dla samochodów z Samochód opancerzony Security Plus (S109A) = TAK Ogranicznik drzwi przednich lewych 51 21 7 055 103 |
1 |
822,14 zł
|
do 10 dni |
Zapytaj o dost.
Bez gwarancji potwierdzenia zamówienia Do Koszyka |
||
| 10 |
Dla samochodów z Samochód opancerzony Security Plus (S109A) = TAK Ogranicznik drzwi przednich prawych 51 21 7 055 104 |
1 |
822,14 zł
|
do 10 dni |
Zapytaj o dost.
Bez gwarancji potwierdzenia zamówienia Do Koszyka |
||
| 11 |
Dla samochodów z Samochód opancerzony Security Plus (S109A) = TAK Uszczelka ogranicznika drzwi tyln. lew. 51 22 7 017 807 |
1 |
121,43 zł
|
do 10 dni |
Zapytaj o dost.
Bez gwarancji potwierdzenia zamówienia Do Koszyka |
||
| 11 |
Dla samochodów z Samochód opancerzony Security Plus (S109A) = TAK Uszczelka ogranicznika drzwi tyln. praw. 51 22 7 017 808 |
1 |
121,43 zł
|
do 10 dni |
Zapytaj o dost.
Bez gwarancji potwierdzenia zamówienia Do Koszyka |
||
| 12 |
Dla samochodów z Samochód opancerzony Security Plus (S109A) = TAK Mocowanie siłownika gazowego 41 21 7 214 522 |
M10X20X16 | 2 | niedostępna | |||
| 13 |
Dla samochodów z Samochód opancerzony Security Plus (S109A) = TAK Mocowanie siłownika gazowego 72 17 7 215 574 |
M10X20X13 | 2 | niedostępna | |||
Wspornik zew. klamki drzwi lewy
