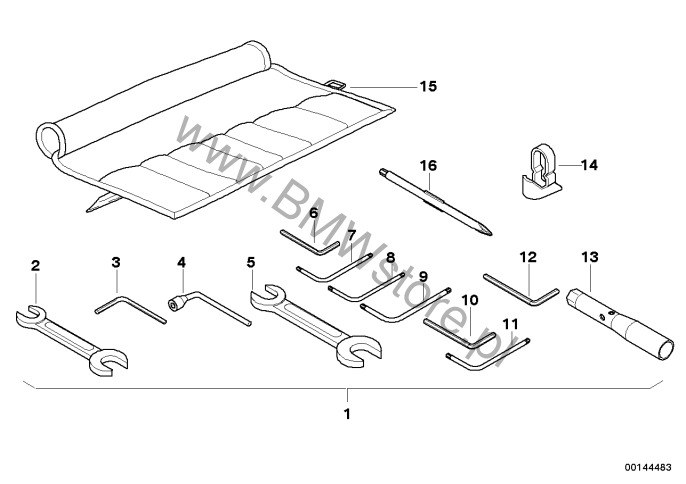
Komplet narzędzi, zest. uzupełn. dla BMW R22 (R 850 RT, R 1150 RT, R 1150 RS) R 850 RT 02 (0417) ECE
| Zestawy | |||||||
|---|---|---|---|---|---|---|---|
| Części na diagramie | |||||||
| Nr | Nazwa i numer części | Dodatkowe inf. |
Liczba na schemacie |
Okres |
Cena za sztukę |
Termin realizacji |
Zamów |
| 01 |
Komplet narzędzi, zest. uzupełn.
71 60 7 691 419 |
R1150 | 1 | koniec produkcji | |||
| 02 |
Dwustronny klucz płaski
71 11 1 112 893 |
8X10 | 1 |
70,41 zł
|
do 10 dni | Do Koszyka | |
| 03 |
Klucz imbusowy
71 11 1 237 852 |
SW4 | 1 |
14,42 zł
|
do 10 dni |
Zapytaj o dost.
Bez gwarancji potwierdzenia zamówienia Do Koszyka |
|
| 04 |
Klucz nasadowy
71 11 1 240 891 |
17 | 1 | koniec produkcji | |||
| 05 |
Dwustronny klucz płaski
07 11 9 908 041 |
10X13 | 1 |
28,75 zł
|
do 10 dni |
Zapytaj o dost.
Bez gwarancji potwierdzenia zamówienia Do Koszyka |
|
| 06 |
Klucz imbusowy
07 11 9 906 008 |
SW3 | 1 | koniec produkcji | |||
| 07 |
Klucz Torx
71 11 2 328 872 |
30 | 1 |
25,95 zł
|
do 10 dni |
Zapytaj o dost.
Bez gwarancji potwierdzenia zamówienia Do Koszyka |
|
| 08 | 71 11 7 667 948 | 30 | 1 |
38,62 zł
|
Zapytaj o dostępność
Bez gwarancji potwierdzenia zamówienia |
||
| 09 |
Klucz Torx
71 11 7 655 301 |
45 | 1 | koniec produkcji | |||
| 10 |
Klucz imbusowy
07 11 9 906 020 |
SW5 | 1 | niedostępna | |||
| 11 |
Klucz Torx
52 53 7 650 966 |
40 | 1 |
30,98 zł
|
do 10 dni | Do Koszyka | |
| 13 |
Klucz do świec zapłonowych
71 11 7 676 887 |
SW 16 | 1 |
127,80 zł
|
do 10 dni |
Zapytaj o dost.
Bez gwarancji potwierdzenia zamówienia Do Koszyka |
|
| 14 |
Ściągacz do cewki świecy
12 13 7 673 248 |
1 |
14,01 zł
|
do 10 dni | Do Koszyka | ||
| 15 |
Pojemnik na narzędzia
51 16 2 309 916 |
1 |
100,44 zł
|
do 10 dni |
Zapytaj o dost.
Bez gwarancji potwierdzenia zamówienia Do Koszyka |
||
| 16 |
Wkładka śrubokręta
71 11 7 692 574 |
PH1/TX25 | 1 |
33,48 zł
|
do 10 dni | Do Koszyka | |

